PRODUCT
时间:2026-02-04 11:26:31

| 序号 | 设备名称 | 主要参数 |
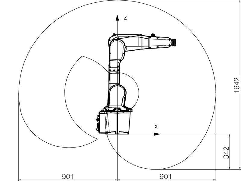
| 1 | 工业机器人 |
1) 机器人本体 2) 轴数:6轴 3) 第6轴达到距离:700mm 4) 称重能力: 4kg 5) 重复定位精度:±0.02mm 6) 防护等级:IP40 7) 安装方式:落地式 8) 机器人底座尺寸:190×190mm 9) 本体质量:54kg 10) 机器人本体到控制柜之间的电缆长度:不小于5m 11) 上臂集成信号源:至少10路 12) 上臂集成气源:最高5 bar 13) TCP最大速度:不小于7.1m/s ![]() |
| 2 | 主机架 | 1600×1200×900mm工业铝型材搭建,钣金表面喷塑处理,带滚轮。 |
| 3 | 操作面板模块 | 操作面板上的元件:操作面板上的元件,电源指示灯,蜂鸣器等。 |
| 4 | 放料平台模块 | 实现物料搬运,九宫格分拣功能。 |
| 5 | 码垛仓库模块 | 由三层码垛平台组成,钣金喷塑,铝型材搭建。 |
| 6 | 流水线模块 | 实现与输送物料自动化设备联动,实现自动搬运分类仓储等功能。 |
| 7 | TCP及工具架模块 | 实现TCP工具存储,TCP点的校准等功能。 |
| 8 | 几何轨迹模块(TCP练习区) | A4纸大小,模板可按要求更换,模板上有矩形,三角形,圆,弧线灯,文字等轨迹。 |
| 9 | 冲压模块 | 实现与冲压自动化设备联动,实现冲压设备自动搬运分类仓储等功能。 |
| 10 | 抛光打磨模块 | 模拟工厂比较通用的打磨砂轮 抛光砂轮 打磨皮带等打磨工艺。实现模拟打磨抛光等功能。 |
| 11 | 装配点胶模块 | 模拟工厂比较通用的二次定位轴孔装配,点胶等工艺。 |
| 12 | 加工中心模块 | 模拟工厂比较通用的加工类设备上下料,上嵌件等工艺。 |
| 13 | 机器人夹具模块 | 实现物料吸取,TCP轨迹运行等功能。 |












